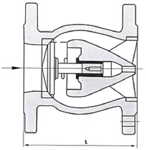
DRVZ Silent Check Valve is an industrial check valve featuring silent-closing functionality, designed for pipeline systems with nominal pressures PN10/16/25 and diameters DN50-350mm. Comprising valve body, seat, guide vane, disc, bearing bush, and spring components, this valve employs streamlined flow passage design to minimize pressure loss. Its quick-closing mechanism with short-stroke disc movement effectively eliminates water hammer noise, achieving silent operation.
Constructed from materials including gray iron, ductile iron, aluminum bronze, and stainless steel with flanged connections, the product series covers DRVZ-10/16/25Q models. Technical specifications include seal test pressures of 1.1-2.75MPa and shell test pressures of 1.5-3.75MPa. Suitable for water, oil, sewage and other media, it is primarily installed at pump discharge points in water supply/drainage, firefighting, and HVAC systems to prevent backflow and protect pumps from water hammer damage.
www.carbonvalve.com ¨C Custom specifications available upon request.
#Silent Check Valve #Check Valve #Stainless Steel #Ductile Iron #Grey Cast Iron #Aluminum Bronze #Valve #Flange Connection #Pipe System #Industrial Check Valve


